楼市“新”动能③:开年长沙土拍汹涌,房企拿地热情不减
扫描到手机,新闻随时看
扫一扫,用手机看文章
更加方便分享给朋友
作者丨王羽琴
出品丨搜狐焦点长沙站
土拍市场一直被视作楼市的“晴雨表”。“面粉”的供应数量与价格,也直接影响着未来一段时间内“面包”的成色与价值。2021年伊始,长沙土拍市场已呈现热火朝天的景象,品牌房企拿地热情不减,为楼市开局奠定了良好基底。
一、1月土拍各项数据同比大幅上升
与去年1月平淡沉寂的开局不同,今年1月长沙土拍市场基本面向好,成交面积、成交金额等各项数据较去年同期大幅上涨。今年1月,长沙(六区一县)共计12块土地成功出让,成交面积37.67万方,较去年同期上涨了63%,成交金额33.31亿元,较去年同期上涨86%。
一年之计在于春!开年之际,房企资金相对充裕,拍地底气足、积极性高。1月推出的优质地块,引得各路开发商争相竞夺。位于开福鹅秀板块的[2020]长沙市116号地块就吸引了4家房企竞价12笔,触发熔断机制后,以摇号的方式被揭阳泰悦收入囊中。

1月28日,经过两轮竞价,[2020]望城区035号地块被时代地产12.08亿元的价格摘得,折合楼面价5050元/㎡。该地块住宅(毛坯)限价12000元/㎡,刷新了月亮岛片区价格“天花板”。

二、2月土拍一天成交金额超39亿
进入2月,长沙土拍市场更是掀起了一轮小高潮。2月2日,长沙8宗经营性用地成功“出嫁”,总出让面积达到51.2万方,总成交价超39亿元。其中4宗限价地引发了较高的关注度。

位于火车站商圈的[2020]长沙市129号商住地因所在区域很长时间没有地块出让,出场便“自带光环”。该宗地毛坯限价14800元/㎡,为长沙第三宗14800元/㎡限价地。该宗地被武汉世茂嘉年华置业有限公司竞得,溢价率3%,成交楼面价达7462元/㎡。

位于望城经开区的[2020]望城区034号住宅地块在出价21轮后遭遇熔断,2月2日最终由长房集团摇号中签,住宅(毛坯)限价7700元/㎡。该地块最终成交楼面价2647元/㎡,溢价率为20%。

[2020]长沙市125号地块位于岳麓区长韶娄高速岳麓收费站以南、长潭西高速以东,最终长沙汉城房地产开发有限公司以120271万元底价收入囊中,折合楼面价3500元/㎡,住宅(毛坯)限价10800元/㎡。

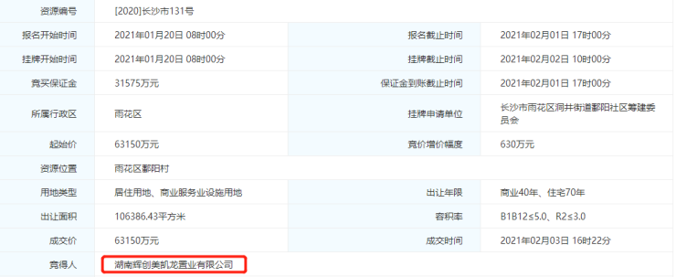
雨花区鄱阳村的[2020]长沙市131号地块,宗地规划用途为商业(B1B2)和住宅用地(R2),住宅(毛坯)销售均价不超过11300元/平方米。该地块被湖南辉创美凯龙置业有限公司底价拍得,折合楼面价1662元/平方米。

三、桐梓坡“王炸”地块出让在即
2月20日,长沙土拍市场将甩出一张新的“王炸”。备受关注的河西桐梓坡棚改地块将迎来出让日,[2021]长沙市004号宗地起始总价37.21亿元,起始楼面价6800元/平方米。

该宗地位于岳麓区桐梓坡路以南、望月路以东,总面积104032.5平方米,其中出让面积94368.88平方米(合141.553亩),用地性质为商业商务和居住用地(B1B2R2)(商住比≥47:53),容积率≤5.8。

该地块区位优势十分明显距离地铁4号线六沟垅站和6号线桐梓坡站约100多米;此外,桐梓坡一带商业密集,周边目前有奥克斯广场、王府井百货、步步高、绿地中央广场等商业;医疗配套也湘雅附三医院、省肿瘤医院等。该地块住宅(毛坯)最终销售均价按长沙市政策进行价格监制,由于挂牌条件相当苛刻,花落谁家值得期待。
四、今年土地供应预计呈稳健走势
土拍市场的稳中向好,离不开各大房企对城市价值的信心与底气。除了拥有“网红城市”、“较具幸福感的城市”标签之外,长沙还是一座低调有内涵的城市,在中国城市研究院发布的2020年中国城市综合实力20强排名中,长沙超越郑州、合肥、青岛、西安等城市,位于第14位。2020年,长沙GDP总量迈过1.2万亿大关,在所有省会城市里排名第6。
正处于跨越式发展时期的长沙,经济总量稳步递增,地铁、高铁、城轨处处生花,加上城市建设扩容、基础设施不断加强,发展潜力仍然值得期待。在中国百强房企中,已经有超过一半的开发商落子长沙,保利、万科、恒大等大品牌开发商,已经深耕长沙十年有余。并且,越来越多的品牌房企如:江河、北控都通过拿地首入长沙,足以彰显长沙的城市吸引力。
尽管目前整个长沙市2021年的土地出让总体计划尚未出炉,但作为长沙土地功能供应“新锐力量”的长沙县日前发布了相关数据。根据长沙县自然资源局发布的2021年度经营性国有建设用地挂牌出让计划:长沙县今年预计出让土地62宗, 总出让面积5174亩(约344.93万方),其中32块住宅用地,30块商服用地,涵盖经开区、临空经济示范区、湖南自贸区等热点区域。业内人士分析认为,2021年长沙土地供应整体将维持稳健状态。
本文内容仅代表作者立场和观点。本文著作权归搜狐焦点所有。未经允许,严禁转载;经允许转载或使用本文时,请注明来源。获得转载授权请联系:focuskf@vip.sohu.com。
声明:本文由入驻焦点开放平台的作者撰写,除焦点官方账号外,观点仅代表作者本人,不代表焦点立场。
