地产江湖 | “浙系”房企在长沙: 谁持彩练当空舞?
扫描到手机,新闻随时看
扫一扫,用手机看文章
更加方便分享给朋友
出品|搜狐焦点长沙站

有人的地方,就有江湖。有人的地方,也必有房子。
武侠世界,刀光剑影,血雨腥风。地产江湖,同样是群雄逐鹿,风起云涌。以地域划分的房地产企业派系也各成一体,特点鲜明。

以万科、碧桂园为代表的“粤系”房企表现出强者恒强的特征,攻势强劲的“闽系”房企一度在百强中占比两成,被贴上“激进”的标签。相较于前两派的日月争辉,“浙系”房企则甚为稳健。
在长沙,绿城、中梁、中天、澳海、奥克斯等“浙系”房企,有人向左,有人向右。

18年前,绿城入湘。那时,长沙是长三角外,绿城最早拓展的城市。18年间,绿城精神,生根在长沙的美好湖山间。
2004年绿城在长沙的排名前列项目绿城桂花城开盘,“先造园,后造房”的建筑理念,让当时还处于初级地产开发的星城叹服。

太阳山下,长沙北城。2007年绿城·青竹园亮相。也是从那时开始,中式院墅梦深埋于湖湘人灵魂深处。2014年,青竹园更是为长沙捧回“亚洲十大超级豪宅”、“亚洲较具收藏价值豪宅”等国际荣誉。
从中式风光,到欧陆风情,青竹园始终引领着长沙别墅市场,它的每一次出品,都惊艳四方。
“春风又绿江南岸,桃花依旧笑春风。”时至今日,纵然桃李春风系产品早已告罄,仍有不少追随者,寄希望于通过二手房市场,入主于此。

长沙,如大江奔涌,高歌猛进。绿城,却始终精研产品,不急不躁。
很多“绿城粉”希望绿城开发速度能快一些,“一生总要住一次绿城”。但“速度”与“品质”终究是个悖论。
2017年,绿城高尔夫小镇入市;2020年,绿城美的明月江南,以滨水美学墅区再次掀起市场热潮。
总有一种等待,不负时光。2021年,长沙“绿城粉”心潮澎湃。
今年春天,绿城美的·明月江南亮相,松雅湖畔春水荡漾。
6月1日,在长沙首轮集中供地中,绿城拿下倍受关注的梅溪湖中轴043地块。值得提醒的是,该地块不限价,未来绿城将打造怎样的超级产品,给予市场无限想象。

幸运加持。6月8日,市中心“王炸”地块048地块,被绿城摇中。14157元/㎡ 楼面地价刷新长沙历史。消息一出,一片沸腾。朋友圈有人写下:“还好是绿城”。
确实,土地和开发商是相互成就的关系。入湘18年,绿城终于走入城市中心,未来,绿城在湘江畔、在梅溪湖将赋予热土怎样的魔法?
“桃李春风一杯酒,江湖夜雨十年灯。”绿城正逐步重仓长沙,未来,待续。

作为规模仅次于绿城的浙系房企,有人将中梁比喻为地产界的“斗战胜佛”,一路升级打怪,势不可挡。
从百亿规模跃至千亿新贵再到上市,中梁控股仅用了三年半的时间。此般业绩也让中梁控股成为行业当之无愧的“黑马”,被外界称为“小碧桂园”。
在发展中过程中,中梁不只是抓住棚改红利,更在于其在拿地策略和优质的高周转模式——“456”模式,即4个月开盘,5个月现金流回正,6个月二次投资。然而,此种模式也为中梁的发展埋下重重隐患,使其陷入多重困境。

连日来,中梁控股负面事件层出不穷。从频繁的高管流动,到“商票逾期、打折兑付” 闹出乌龙,再到屡屡被曝出偷税行为,以及全国各地出现的业主维权事件……
这个曾经的行业“黑马”,如今成为问题“黑洞”。

在长沙,中梁已开发中梁玺悦台、中梁建宁檀府、中梁云麓传奇(又名云麓雅苑)、中梁星都荟等数个项目。但从结果上看,大举扩张的背后,中梁并没有获得真正的认同。
前段时间,中梁云麓传奇推出限量特价精装洋房,“跳水”价约9999元/㎡起。

提起这个项目,总有种“生不逢时”的味道。
在面市的时候,碰上了万科金色梦想,首开850套房源,很快销售一空。而中梁云麓传奇,首开270套房源,去化150套,去化率不足6成。在2019年5月首开之后的两个月里,项目每个月销售量只有10余套。号称“小碧桂园”的中梁,高周转模式下,人只不过是工具,结果导向,当时的营销负责人迅速下课。
在万科金色梦想住宅清盘后,中梁又迎来阳光城这一对手。阳光城收购山水英伦500亩未开发部分,命名为“阳光城·溪山悦”的百万方大盘屡屡荣登楼市销售排行榜榜单。
前有狼,后有虎的中梁云麓传奇接连碰壁。
有的项目销售遇阻,而有的项目品质堪忧。

2019年,号称精品工程先进豪宅——长沙市宁乡中梁首府,被千余户业主投诉安全、质量、违反合同、虚假宣传等66项问题。
同年,中梁地产长沙一子公司长沙市梁信置业有限公司被长沙住建部门记入信用“黑名单”。

不仅于长沙,常德中梁滨江首府近半房子裂缝、邵阳中梁壹号院实际和宣传不符……搜索关于中梁品质问题的新闻,不胜枚举。
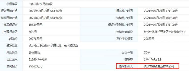
但不论市场如何喧嚣,中梁依旧步履未停。7月6日,中梁以23%的溢价率,竞得位于长沙县泉塘街道的【2021】长沙县038号地块。宗地容积率为1.9,建筑高度不高于50米,预计未来将打造成低密品质项目。

中梁地产,是黑马还是野马?几年前中梁区域公司挂着得一块“标语”:只要干不死,就往死里干。
但,别忘了,干得好才是活得好的少有出路。

在长沙,如果说绿城代表的是无懈可击的品质,澳海则展现的是深耕城市的决心。
2006年澳海入湘,在开发首盘“三江花中城”后,以破竹之势,在长沙陆续打造了澳海澜庭、澳海谷山府、澳海望洲府等项目,且是长沙商品房销售榜榜单常客。


克尔瑞发布的2020年度长沙商品房房企操盘榜中,澳海控股以38.56亿元成交额位列第15位,是长沙九区县TOP30排行榜中,少有上榜浙系房企。
曾经,因深耕“刚需圣地”金星北,很多人对澳海的定位是刚需福音。但时间在变,金星北早已蜕变为城市热土,澳海的产品也随之迭代升级。
如果说曾经的澳海是为了让更多年轻人安家;而今的澳海,已经走在更新城市面貌,改善城市人居的路上。

今年上半年,澳海献上诚意十足的“赋”系高端住宅——澳海云湘赋。
限价8200,毛坯,1.8容积率,5层洋房,一江两湖三公园,一线江景,地铁4号线延长线旁……每一处皆亮点。优秀的产品,市场终会给予十分的反馈。截止日前,项目两开两捷,成为当之无愧的片区红盘。

在6月份长沙首轮集中土地出让中,澳海运气爆棚,连中滨江新城、望城区两地块,分别为长沙市[2021]036号,毛坯限价14000元/㎡,刷新滨江新城限价记录;长沙市[2021]016号地块,位于澳海主场望城区观音岩板块,拥有丰富的生态环境、人文资源,毛坯限价8200元/㎡。
十五年的深耕运营,澳海在长沙已走出人居蝶变之路。

在长沙,“浙系”房企还有匠工品质的中天、虎头蛇尾的奥克斯等等。江湖还是那个江湖,但不同房企的命运却有天壤之别。有人为了有朝一日住上绿城开发的房子而奋斗,有人因幸福梦碎而举起维权的大旗。
期待素以品质行天下的“浙系”房企,所有人都能守住这面旗帜,上演更多传奇。

声明:本文由入驻焦点开放平台的作者撰写,除焦点官方账号外,观点仅代表作者本人,不代表焦点立场。
